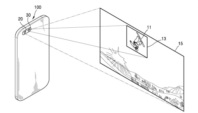
Nelle ultime ore, Samsung ha depositato un nuovo brevetto in Corea del Sud relativo ad una nuova possibile soluzione per la camera posteriore dei propri dispositivi, caratterizzata dalla presenza di due sensori.
Come è possibile vedere dall'immagine in alto, infatti, il brevetto farebbe riferimento ad una fotocamera con doppia lente in cui, uno dei due, sarebbe in grado di monitore un oggetto all'interno del campo visivo del teleobiettivo grandangolare.
All'interna della documentazione completa, disponibile a questo indirizzo, sarà inoltre possibile notare oltre al disegno di uno smartphone con doppia fotocamera, dotato sia di una lente grandangolare che di una in grado di ingrandire l'immagine in maniera considerevole, anche la possibile applicazione di questa tipologia di camera, in grado di monitorare il movimento di uno snowborder, ingrandendo la sua posizione senza perdere di vista il panorama dietro di esso.


